Infarto cerebral
| Infarto cerebral | ||
|---|---|---|
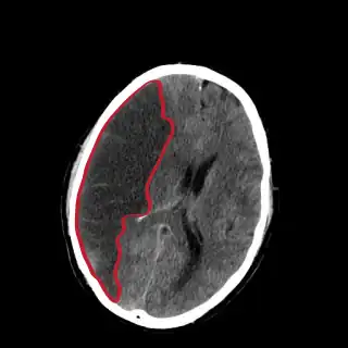
![]() Corte de una TAC del cerebro mostrando un infarto cerebral del hemisferio derecho (lado izquierdo de la imagen). | ||
| Especialidad | neurología | |
El infarto cerebral es un evento cerebrovascular causado por un proceso de isquemia, durante el cual muere parte de la masa encefálica debido a una carencia duradera en la irrigación sanguínea. La causa de la isquemia es la oclusión del sistema arterial cerebral debido a aterotrombosis o a un embolismo.[1] Suele aparecer en personas de edad avanzada y asociado a factores de riesgo incluyendo previas isquemias transitorias. Los principales factores de riesgo para la aparición de un infarto cerebral son la hipertensión arterial, los trastornos lipídicos, tabaquismo y drogadicción.
El infarto cerebral se caracteriza por déficit neurológico de instauración progresiva, intermitente con trastornos leves al inicio y máximos al transcurrir las horas. Dependiendo de la etiología, suele ser de aparición durante el sueño, al despertar, con la actividad física o asociado a trastornos de hipotensión arterial.
La tomografía de cráneo revela zonas de infarto mayores de 1,6 cm, pero los cambios de la densidad no son inmediatos, por lo que es un estudio poco sensible. Un error común es realizar una tomografía simple (no contrastada). La inyección de contraste permite realizar una perfu-TC (perfusión por tomografía) y una angio-TC (angiotomografía). El 80 % de las enfermedades cerebrovasculares son debidas a un infarto cerebral isquémico y el otro 20 % a una hemorragia cerebral.[2] Un infarto debe distinguirse de una hemorragia cerebral y de una hemorragia subaracnoidea. Los infartos cerebrales varían en cuanto a gravedad, pues en un tercio de ellos se acaba produciendo la muerte del individuo.
Clasificación
La enfermedad cerebrovascular isquémica suele tener distintas variantes. Un estudio denominado TOAST (siglas en inglés: Trial of Org 10172 in Acute Stroke Treatment) clasificó al infarto cerebral según su causa:[3]
- Infarto cerebral aterotrombótico cerebral
- Infarto cardioembólico cerebral
- Oclusión de un vaso sanguíneo de pequeño calibre
- Otras causas determinadas
- Otras causas no determinadas, es decir, dos causas posibles, estudios incompletos o causa no identificada propiamente dicha.
Por su distribución, fundamentado inicialmente por los síntomas, el proyecto realizado en Oxford y denominado en inglés Oxford Community Stroke Project clasifica al infarto cerebral en cuatro tipos. Estas cuatro entidades predicen la extensión del infarto, el área cerebral afectada, la causa principal y el pronóstico.[4][5] Son:
Etiología
El Infarto Cerebral puede ser provocado por presión arterial elevada, endurecimiento de las arterias, edad avanzada, anemia grave, drogadicción, alto colesterol, diabetes, tabaquismo, trastornos en la coagulación y trastornos en la producción de glóbulos blancos o rojos. La mayor parte de estos síntomas se corresponden con el síndrome metabólico, una de las causas de los infartos de miocardio e infartos cerebrales.
Sin embargo, en un considerable número de casos, es provocado por problemas cardioembólicos.
Existen diferentes causas para que se obstruyan las arterias que irrigan el cerebro. Una de ellas es la ateroesclerosis que afecta a las arterias del interior del cráneo o de las arterias cervicales, las arterias carótidas o las arterias vertebrales. Otra causa puede ser la formación de émbolos en el corazón (por arritmias o alteraciones en la estructura del corazón) que al salir al torrente sanguíneo obstruyen alguna arteria.
Patogenia
A nivel macroscópico, el accidente cerebrovascular isquémico, en la mayoría de los casos, es causado por embolia proveniente fuera del cráneo o trombosis intracraneal, pero también puede ser causado por disminución del flujo sanguíneo cerebral. A nivel celular, el proceso que interrumpe el flujo sanguíneo a una porción del cerebro desencadena una cascada isquémica, que conduce a la despolarización, depolarización extendida[6] y eventual muerte de las neuronas y al infarto cerebral. La comprensión de esta cadena de eventos es importante para comprender los actuales enfoques terapéuticos.

Cuadro clínico
El resultado de esta obstrucción arterial conlleva una pérdida de una función cerebral que puede originar varios síntomas como debilidad, alteración en el habla, en el equilibrio o en la sensibilidad:
- Hemiplejia:
- Afasia o disfasia: alteración en el lenguaje (dificultad para comprender o para expresarse).
- Disartria: dificultad para articular las palabras.
- Disfagia: dificultad para tragar.
- Cefaleas: dolor de cabeza.
- Vómitos.
- Ataxia: inestabilidad o falta de equilibrio.
- Dismetría: falta de coordinación en las extremidades.
Es poco frecuente la pérdida de consciencia.
Si la obstrucción se resuelve los síntomas pueden ser transitorios y no dejar ninguna secuela, es lo que se denomina accidente isquémico transitorio. Si la arteria se mantiene obstruida se produce un daño permanente y un infarto cerebral.
El cuadro representa una emergencia médica verdadera y requiere de atención médica inmediata. En caso de aparecer estos síntomas hay que acudir lo antes posible al hospital.
Tratamiento
Actualmente existen tratamientos que se pueden aplicar en las primeras horas para intentar «desobstruir» las arterias y evitar el daño cerebral por la isquemia. Existen en muchos hospitales unidades especializadas llamadas Unidades de ictus donde neurólogos atienden a esos pacientes.
Secuelas
Cuando un infarto cerebral no causa la muerte de la persona que lo sufre, provoca daños neurológicos secundarios dependiendo de la zona del cerebro en el que ocurrieron, los cuales pueden derivar en:
- Invalidez
- Debilidad
- Parálisis
- Problemas de equilibrio
- Problemas de lenguaje (Entender, recordar o pronunciar palabras).
- Adormecimiento
- Problemas de memoria
- Problemas de razonamiento
- Disfagia (Complicación para comer)
- Incontinencia urinaria
- Altibajos emocionales, cambios de humor
- Depresión
- Falta de paciencia
Rehabilitación
El cuadro retrocede total o parcialmente después de un tratamiento adecuado, seguido de rehabilitación física.
Por lo anterior, adquiere especial importancia el seguimiento de programa de rehabilitación, el cual incluye diversas actividades, como terapia física, ocupacional, de lenguaje, ocio y educación para el paciente y familiares. Cabe destacar que después de este proceso a algunas personas se les llega a dificultar caminar, mantener el equilibrio o realizar ciertas labores cotidianas, por lo que pueden encontrar gran apoyo en diversos accesorios, como bastón, andadera, silla de ruedas y aparatos ortopédicos.
Por otra parte, debe tenerse en mente que las personas que han padecido ataque cerebral tienen mayor riesgo de sufrir otro, por lo que es de vital importancia seguir estrictamente las recomendaciones del neurólogo y aprender a reconocer las señales que pudieran indicar accidente isquémico transitorio o ictus (por ejemplo, debilidad en un lado del cuerpo y dificultad al hablar) y buscar atención médica inmediata.
Considere que en esta enfermedad el factor tiempo es determinante, pues se ha comprobado que los pacientes tratados por el neurólogo en forma temprana, recuperan en mayor medida sus funciones cerebrales y físicas.
Véase también
Referencias
- ↑ Ropper, Allan H.; Adams, Raymond Delacy; Brown, Robert F.; Victor, Maurice (2005). Adams and Victor's principles of neurology. Nueva York: McGraw-Hill Medical Pub. Division. pp. 686-704. ISBN 0-07-141620-X.
- ↑
- ↑ Adams HP, Bendixen BH, Kappelle LJ, et al. (enero de 1993). «Classification of subtype of acute ischemic stroke. Definitions for use in a multicenter clinical trial. TOAST. Trial of Org 10172 in Acute Stroke Treatment» (PDF). Stroke 24 (1): 35-41. PMID 7678184.
- ↑ Bamford J, Sandercock P, Dennis M, Burn J, Warlow C (junio de 1991). «Classification and natural history of clinically identifiable subtypes of cerebral infarction». Lancet 337 (8756): 1521-1526. PMID 1675378. doi:10.1016/0140-6736(91)93206-O. Publicaciones posteriores distinguen entre un «síndrome» y un «infarto», basado en evidencias provenientes de radiología. El término síndrome puede ser reemplazado por «hemorragia» en casos donde la imagen revele sangrado. Véase Internet Stroke Center. «Oxford Stroke Scale». Archivado desde el original el 25 de octubre de 2008. Consultado el 14 de noviembre de 2008.
- ↑ Bamford JM (2000). «The role of the clinical examination in the subclassification of stroke». Cerebrovasc. Dis. 10 Suppl 4: 2-4. PMID 11070389. doi:10.1159/000047582.
- ↑ Santos, Edgar; Sánchez-Porras, Renán; Sakowitz, Oliver W.; Dreier, Jens P.; Dahlem, Markus A. (2017-07). «Heterogeneous propagation of spreading depolarizations in the lissencephalic and gyrencephalic brain». Journal of Cerebral Blood Flow and Metabolism: Official Journal of the International Society of Cerebral Blood Flow and Metabolism 37 (7): 2639-2643. ISSN 1559-7016. PMC 5531357. PMID 28121215. doi:10.1177/0271678X16689801. Consultado el 20 de enero de 2020.
- ↑ Kentar, Modar; Mann, Martina; Sahm, Felix; Olivares-Rivera, Arturo; Sanchez-Porras, Renan; Zerelles, Roland; Sakowitz, Oliver W.; Unterberg, Andreas W. et al. (15 de enero de 2020). «Detection of spreading depolarizations in a middle cerebral artery occlusion model in swine». Acta Neurochirurgica. ISSN 0942-0940. PMID 31940093. doi:10.1007/s00701-019-04132-8. Consultado el 20 de enero de 2020.
