1008
MECHANICS
[THEORY OF MACHINES
together as a screw and nut, in which case the relative motion is compounded of turning with sliding.
![]() | ||
| Fig. 118. | Fig. 119. | |
These combinations of pieces are known individually as kinematic pairs of elements, or briefly kinematic pairs. The three pairs mentioned above have each the peculiarity that contact between the two pieces forming the pair is distributed over a surface. Kinematic pairs which have surface contact are classified as lower pairs. Kinematic pairs in which contact takes place along a line only are classified as higher pairs. A pair of spur wheels in gear is an example of a higher pair, because the wheels have contact between their teeth along lines only.
A kinematic link of the simplest form is made by joining up the halves of two kinematic pairs by means of a rigid link. Thus if A1B1 represent a turning pair, and A2B2 a second turning pair, the rigid link formed by joining B1 to B2 is a kinematic link. Four links of this kind are shown in fig. 120 joined up to form a closed kinematic chain.
![]() |
| Fig. 120. |
In order that a kinematic chain may be made the basis of a mechanism, every point in any link of it must be completely constrained with regard to every other link. Thus in fig. 120 the motion of a point a in the link A1A2 is completely constrained with regard to the link B1B4 by the turning pair A1B1, and it can be proved that the motion of a relatively to the non-adjacent link A3A4 is completely constrained, and therefore the four-bar chain, as it is called, can be and is used as the basis of many mechanisms. Another way of considering the question of constraint is to imagine any one link of the chain fixed; then, however the chain be moved, the path of a point, as a, will always remain the same. In a five-bar chain, if a is a point in a link non-adjacent to a fixed link, its path is indeterminate. Still another way of stating the matter is to say that, if any one link in the chain be fixed, any point in the chain must have only one degree of freedom. In a five-bar chain a point, as a, in a link non-adjacent to the fixed link has two degrees of freedom and the chain cannot therefore be used for a mechanism. These principles may be applied to examine any possible combination of links forming a kinematic chain in order to test its suitability for use as a mechanism. Compound chains are formed by the super-position of two or more simple chains, and in these more complex chains links will be found carrying three, or even more, halves of kinematic pairs. The Joy valve gear mechanism is a good example of a compound kinematic chain.
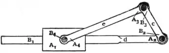
A chain built up of three turning pairs and one sliding pair, and
known as the slider crank chain, is shown in fig. 121. It will be seen
that the piece A1 can
only slide relatively
to the piece B1, and
these two pieces
therefore form the
sliding pair. The
piece A1 carries the
Fig. 121.
pin B4, which is one
half of the turning
pair A4 B4. The
piece A1 together
with the pin B4 therefore form a kinematic link A1B4. The other
links of the chain are, B1A2, B2B3, A3A4. In order to convert a
chain into a mechanism it is necessary to fix one link in it. Any
one of the links may be fixed. It follows therefore that there are
as many possible mechanisms as there are links in the chain. For
example, there is a well-known mechanism corresponding to the
fixing of three of the four links of the slider crank chain (fig. 121).
If the link d is fixed the chain at once becomes the mechanism of the
ordinary steam engine; if the link e is fixed the mechanism obtained
is that of the oscillating cylinder steam engine; if the link c is fixed
the mechanism becomes either the Whitworth quick-return motion
or the slot-bar motion, depending upon the proportion between the
lengths of the links c and e. These different mechanisms are called
inversions of the slider crank chain. What was the fixed framework
of the mechanism in one case becomes a moving link in an
inversion.
The Reuleaux system, therefore, consists essentially of the analysis of every mechanism into a kinematic chain, and since each link of the chain may be the fixed frame of a mechanism quite diverse mechanisms are found to be merely inversions of the same kinematic chain. Franz Reuleaux’s Kinematics of Machinery, translated by Sir A. B. W. Kennedy (London, 1876), is the book in which the system is set forth in all its completeness. In Mechanics of Machinery, by Sir A. B. W. Kennedy (London, 1886), the system was used for the first time in an English textbook, and now it has found its way into most modern textbooks relating to the subject of mechanism.
§ 81.* Centrodes, Instantaneous Centres, Velocity Image, Velocity Diagram.—Problems concerning the relative motion of the several parts of a kinematic chain may be considered in two ways, in addition to the way hitherto used in this article and based on the principle of § 34. The first is by the method of instantaneous centres, already exemplified in § 63, and rolling centroids, developed by Reuleaux in connexion with his method of analysis. The second is by means of Professor R. H. Smith’s method already referred to in § 23.
Method 1.—By reference to § 30 it will be seen that the motion of a cylinder rolling on a fixed cylinder is one of rotation about an instantaneous axis T, and that the velocity both as regards direction and magnitude is the same as if the rolling piece B were for the instant turning about a fixed axis coincident with the instantaneous axis. If the rolling cylinder B and its path A now be assumed to receive a common plane motion, what was before the velocity of the point P becomes the velocity of P relatively to the cylinder A, since the motion of B relatively to A still takes place about the instantaneous axis T. If B stops rolling, then the two cylinders continue to move as though they were parts of a rigid body. Notice that the shape of either rolling curve (fig. 91 or 92) may be found by considering each fixed in turn and then tracing out the locus of the instantaneous axis. These rolling cylinders are sometimes called axodes, and a section of an axode in a plane parallel to the plane of motion is called a centrode. The axode is hence the locus of the instantaneous axis, whilst the centrode is the locus of the instantaneous centre in any plane parallel to the plane of motion. There is no restriction on the shape of these rolling axodes; they may have any shape consistent with rolling (that is, no slipping is permitted), and the relative velocity of a point P is still found by considering it with regard to the instantaneous centre.
Reuleaux has shown that the relative motion of any pair of non-adjacent links of a kinematic chain is determined by the rolling together of two ideal cylindrical surfaces (cylindrical being used here in the general sense), each of which may be assumed to be formed by the extension of the material of the link to which it corresponds. These surfaces have contact at the instantaneous axis, which is now called the instantaneous axis of the two links concerned. To find the form of these surfaces corresponding to a particular pair of non-adjacent links, consider each link of the pair fixed in turn, then the locus of the instantaneous axis is the axode corresponding to the fixed link, or, considering a plane of motion only, the locus of the instantaneous centre is the centrode corresponding to the fixed link.
To find the instantaneous centre for a particular link corresponding to any given configuration of the kinematic chain, it is only necessary to know the direction of motion of any two points in the link, since lines through these points respectively at right angles to their directions of motion intersect in the instantaneous centre.
![]() |
| Fig. 122. |
To illustrate this principle, consider the four-bar chain shown in fig. 122 made up of the four links, a, b, c, d. Let a be the fixed link, and consider the link c. Its extremities are moving respectively in directions at right angles to the links b and d; hence produce the links b and d to meet in the point Oac. This point is the instantaneous centre of the motion of the link c relatively to the fixed link a, a fact indicated by the suffix ac placed after the letter O. The process being repeated for different values of the angle θ the curve through the several points Oac is the centroid which may be imagined as formed by an extension of the material of the link a. To find the corresponding centroid for the link c, fix c and repeat the process. Again, imagine d fixed, then the instantaneous centre Obd of b with regard to d is found by producing the links c and a to intersect in Obd, and the shapes of the centroids belonging respectively to the links b and d can be found as before. The axis about which a pair of adjacent links turn is a permanent axis, and is of course the axis


