Intel 8051
El Intel 8051 es un microcontrolador (µC) desarrollado por Intel en 1980 para uso en productos embebidos. Es un microcontrolador muy popular.



Los núcleos 8051 se usan en más de 100 microcontroladores de más de 20 fabricantes independientes como Atmel, Dallas Semiconductor, Philips, Winbond, entre otros.
La denominación oficial de Intel para familia de µCs 8051 es MCS 51.
Especificaciones
Hardware
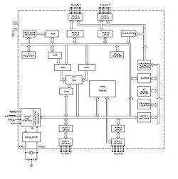
Este microcontrolador está basado en la Arquitectura de von Neumann con memoria segregada (es decir, existen espacios de direcciones separados para código y datos, pero las memorias comparten los buses internos de datos y direcciones). Aunque originariamente fue diseñado para aplicaciones simples, se permite direccionar 64 KB de ROM externa y 64 KB de RAM por medio de líneas separadas chip select para programa y datos.
Adicionalmente, el microcontrolador contiene una memoria interna, dividida en dos partes: los SFR y memoria de propósito general. Los SFR (Special Function Registers), son los registros proporcionados por el microcontrolador, y tienen asignadas direcciones en esta memoria interna. El acceso a esta memoria interna es más rápido que el acceso a la memoria externa, pero es de tamaño limitado. Parte de esta memoria interna además se usa como pila durante las llamadas a función y el proceso de interrupciones.
Una característica particular del 8051 es la inclusión de una unidad de proceso booleano que permite que operaciones de nivel de bit lógica booleana se ejecuten directa y eficientemente en registros internos. Esto ha hecho que el 8051 sea muy popular en aplicaciones de control industrial.
Otra característica muy valorada es que tiene cuatro conjuntos separados de registros. A menudo se usa esta característica para reducir la latencia de interrupción. (La rutina que maneja la interrupción declara usar otro conjunto de registros, evitándose de esta manera tener que salvar en la pila los registros originales).
La mayoría de los 8051 incluyen una o dos UARTs, dos o tres temporizadores, 128 o 256 bytes de RAM interna (16 bytes de los cuales son direccionables a nivel de bit), cuatro o cinco registros de entrada/salida y entre 0k-54K de memoria interna de programa. El núcleo 8051 original ejecuta un ciclo máquina cada 12 ciclos de reloj, requiriendo la mayoría de instrucciones uno o dos ciclos máquina. Pero actualmente la mayoría de fabricantes ofrecen versiones mejoradas que solo requieren de 2 a 4 ciclos de reloj por cada instrucción máquina.
Los microcontroladores 8051 modernos ofrecen muchas mejoras sobre el original. Mejoras comunes incluyen watchdog timers (un temporizador programable que "resetea" el microcontrolador si no se refresca en cierto tiempo), osciladores internos, memoria de programa Flash ROM interna, código de inicialización en ROM, almacenamiento en EEPROM interna, I²C, SPI, USB, generadores PWM, conversores analógicos A/D y D/A, relojes de tiempo real RTC, temporizadores y contadores extra, facilidades de depuración internas, más fuentes de interrupción, modos de bajo consumo, interfaz CAN, etc.
Software
Existen varios compiladores de lenguaje C disponibles para el 8051, así como en lenguaje ensamblador . La mayoría añaden extensiones al lenguaje que permiten al programador especificar por ejemplo el tipo de memoria donde se ubicará la variable, especificar manejadores de interrupción, especificar el banco de registros, acceder a instrucciones especiales de manipulación de bits...
El predecesor del 8051, el 8048, se usó en el teclado del primer IBM PC, donde convertía pulsaciones de tecla en un stream serie que se envía a la unidad central del ordenador. El 8048 y sus derivados aún se usan actualmente en teclados básicos.
Versiones
El 8031 fue una versión reducida del Intel 8051 original que no contiene memoria interna.
El 8052 fue una versión mejorada del Intel 8051 original con:
- 256 bytes de RAM interna, en vez de 128 bytes
- 8 kB de ROM, en vez de 4 kB
- un tercer temporizador de 16-bit
Además de todas las facilidades de Timers que poseen estos controladores, estos cuentan con diferentes sistemas de comunicación serial y paralela.