Ley de Poiseuille
La ley de Poiseuille (ley de Hagen-Poiseuille) es una ley que permite determinar el flujo laminar estacionario () de un líquido incompresible y uniformemente viscoso (fluido newtoniano) a través de un tubo cilíndrico de sección circular constante. La ley es también muy importante en hemodinámica. La ley queda formulada del siguiente modo:
donde () es el volumen del líquido que circula en la unidad de tiempo (), () la velocidad media del fluido a lo largo del eje z del sistema de coordenadas cilíndrico, () es el radio interno del tubo, () es la caída de presión entre los dos extremos, () es la viscosidad dinámica (a veces representada por ) y () la longitud característica a lo largo del eje z.
La ley se puede derivar de la ecuación de Darcy-Weisbach, desarrollada en el campo de la hidráulica y que por lo demás es válida para todos los tipos de flujo. La ley de Hagen-Poiseuille se puede expresar también del siguiente modo:
donde () es el número de Reynolds y () es la densidad del fluido. En esta forma la ley aproxima el valor del factor de fricción, la energía disipada por la pérdida de carga, el factor de pérdida por fricción o el factor de fricción de Darcy () en flujo laminar a muy bajas velocidades en un tubo cilíndrico.
Etimología
Esta ecuación fue derivada experimentalmente en 1838, formulada y publicada en 1840 y 1846 por Jean Léonard Marie Poiseuille (1797-1869). Llamada también en honor a Gotthilf Heinrich Ludwig Hagen (1797-1884) por los experimentos llevados a cabo en 1839.
Historia
La derivación teórica de la fórmula original de Poiseuille fue realizada independientemente por Wiedman (1856) y Neumann y E. Hagenbach (1858, 1859, 1860). Hagenbach fue el primero que la denominó como ley de Poiseuille.
La ley de Poiseuille fue extendida en 1891 para flujo turbulento por L. R. Wilberforce, basándose en el trabajo de Hagenbach.
Simbología
| Símbolo | Nombre | Unidad | Símbolo | Nombre | Unidad |
|---|---|---|---|---|---|
| Número de Reynolds | Dimensiones | ||||
| Fuerza ejercida por el fluido | N | Área transversal | m2 | ||
| Factor de fricción | Área longitudinal | m2 | |||
| Gravedad | m / s2 | Diámetro máximo | m | ||
| Perdida por fricción | m | Longitud | m | ||
| Presión en punto 1 | Pa | Radio máximo | m | ||
| Presión en punto 2 | Pa | Radio | m | ||
| Diferencia de presiones | Pa | Volumen | m3 | ||
| Caudal | m3 / s | Tiempo | s | ||
| Resistencia hidrodinámica | Eléctricos | ||||
| Velocidad | m / s | Corriente | A | ||
| Velocidad media | m / s | Resistencia eléctrica | Ω | ||
| Velocidad máxima | m / s | Voltaje | Volt | ||
| Viscosidad dinámica | Pa s | ||||
| Densidad | kg / m3 | ||||
| Esfuerzo cortante | N / m2 | ||||
| Velocidad de corte | s-1 |
Cálculo de la fórmula

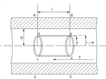
En una tubería por la cual circula un líquido se considera un trozo de ésta delimitado por los puntos (), de longitud () y radio interno ().
En el líquido circulante se considera un cilindro coaxial interno delimitado por los puntos () de radio (), con área transversal () y (): y área longitudinal: .
Debido a la viscosidad, sobre este cilindro actúa un esfuerzo cortante () provocado por una fuerza cortante (). Esta fuerza () tiene el sentido del desplazamiento del fluido, producido por un gradiente de presión ().
De acuerdo a la segunda ley de Newton, si () y () son las presiones aplicadas en el centro de gravedad del área transversal () y ():
| Nota | Descripción |
|---|---|
| (*) | En un sólido, el esfuerzo de corte es proporcional a la deformación, pero un fluido se deforma continuamente mientras se aplique el esfuerzo de corte (), por lo tanto éste será proporcional a la velocidad de corte () por la viscosidad (). |
| 1 | 2 | 3 | 4 | 5* | |
|---|---|---|---|---|---|
| Ecuaciones | |||||
| Simplificando | |||||
| Despejando | |||||
| Sustituyendo | |||||
| Sustituyendo | |||||
| Simplificando | |||||
| Despejando | |||||
| Integrando | |||||
| Evaluando | |||||
| Despejando | |||||
| Sustituyendo | |||||
| Simplificando | |||||
Distribución de velocidades en una tubería
El radio elevado al cuadrado indica que se trata de un paraboloide, donde la velocidad máxima () se obtiene en el eje de la tubería. Zona en la que los efectos del rozamiento con las paredes de la tubería es mínima.
En la práctica es más sencillo medir la velocidad media () que la velocidad máxima ().
Para calcular el caudal en la tubería se va a considerar un anillo diferencial de espesor () entre dos circunferencias concéntricas con el eje de la tubería y radios () y ().
| 1 | 2 | |
|---|---|---|
| Ecuaciones | ||
| Despejando | ||
| Derivando | ||
| Sustituyendo | ||
| Simplificando | ||
| Integrando | ||
Ley de Poiseuille para el caudal.
| 1 | 2 | 3 | 4 | |
|---|---|---|---|---|
| Ecuaciones | ||||
| Sustituyendo | ||||
| Simplificando | ||||
| Sustituyendo | ||||
| Simplificando | ||||
| Despejando | ||||
Ley de Poiseuille para la pérdida de presión.
| 1 | 2 | 3 | |
|---|---|---|---|
| Ecuaciones | |||
| Dividiendo | |||
| Ordenando | |||
| Sustituyendo | |||
Al comparar con la ecuación de Darcy-Weisbach se deduce el factor de fricción ().
siendo esta otra expresión de la ecuación de Hagen-Poiseuille.
Relación con los circuitos eléctricos
La electricidad fue originalmente entendida como una clase de fluido. Esta analogía hidráulica es todavía útil en el ámbito académico con fines didácticos.
La ley de Ohm para los circuitos eléctricos se corresponde con la ley de Poiseuille.
| Ley de Ohm | Ley de Poiseuille | ||
|---|---|---|---|
| Voltaje | Caída de presión | ||
| Corriente eléctrica | Caudal | ||
| Resistencia eléctrica | Resistencia hidrodinámica | ||
Relación con el pulmón
La ley de Poiseuille tiene aplicación en la ventilación pulmonar al describir el efecto que tiene el radio de las vías respiratorias sobre la resistencia del flujo de aire en dirección a los alveolos. De ese modo, si el radio de los bronquiolos se redujera por la mitad, la ley de Poiseuille predice que el caudal de aire que pasa por ese bronquiolo reducido tendría que oponerse a una resistencia 16 veces mayor, teniendo en cuenta que la resistencia al flujo es inversamente proporcional al radio elevado a la cuarta potencia.[1]
Este principio cobra importancia en el asma y otras enfermedades obstructivas del pulmón. Al reducirse el radio de las vías aéreas respiratorias, el esfuerzo de la persona se eleva a la cuarta potencia.
Referencias
- «Enfermería en Cuidados Críticos Pediátricos y Neonatales». Archivado desde el original el 4 de septiembre de 2007. Consultado el 3 de agosto de 2007.