HE-AAC
Codificador avanzado de audio de alta eficiencia (HE-AAC del inglés —High-Efficiency Advanced Audio Coding—) es un formato de compresión de audio digital con pérdidas definido como un perfil MPEG-4 Parte 3 de audio en la ISO/IEC 14496-3 basado en la Replicación de banda espectral (Spectral Band Replication (SBR)) y el estéreo paramétrico (Parametric Stereo (PS)).
| Codificador avanzado de alta eficiencia | ||
|---|---|---|
| Desarrollador | ||
| ISO | ||
| Información general | ||
| Extensión de archivo |
.m4a | |
| Tipo de MIME | audio/aacp, audio/3gpp y audio/3gpp2 | |
| Tipo de formato | Formato de compresión de audio | |
| Contenedor para | 3GP, MP4, .dvb, etc. | |
| Extendido de | AAC | |
| Estándar(es) | ISO/IEC 14496-3 | |
| Formato abierto | ? | |


Es una extensión de una de los tres perfiles definidos en el estándar MPEG-2 Parte 7 (AAC), el AAC LC (Low Complexity AAC), optimizado para tasas de bits bajas.
Características principales
HE-AAC está considerado un codificador de calidad alta. Las tasas de bits que se consiguen en audio estéreo de “buena calidad” van de 16 a 48 Kbits/s dependiendo de la versión. Las frecuencias de muestreo que soporta oscilan entre los 24 y 96 KHz. Soporta canales mono, estéreo y multicanal (5.1, 7.1).
Versiones
HE-AAC v1
También conocido como aacPlus es la primera versión de HE-AAC. Combina el códec de audio AAC-LC con la Replicación de banda espectral (SBR), herramienta de expansión debido a que ofrece la misma experiencia de sonido con aproximadamente la mitad de la tasa de bits respecto a otros códecs de audio. El perfil de HE-AAC v1 está especificado en la ISO/IEC 14496-3:2001/Amd.1. Algunos ejemplos de tasas de bits que consigue para audio de “buena calidad” son:[2]
| Mono | Estéreo | 5.1 |
|---|---|---|
| 32 Kbps | 48 Kbps | 128 Kbps |
HE-AAC v2
También conocido como aacPlus v2, es la segunda versión de HE-AAC. HE-AAC v2 surge de la combinación de las tecnologías usadas en la v1 (AAC-LC y SBR) con el Estéreo Paramétrico (Parametric Stereo (PS)). El perfil de HE-AAC v2 está especificado en la ISO/IEC 14496-3:2001/Amd.4.
Características
El uso del estéreo paramétrico permite aumentar la eficiencia en la codificación respecto a la v1 mediante la explotación de una representación paramétrica de la imagen estéreo de la señal de entrada. HE-AAC v2 es un superconjunto del códec de audio AAC que consigue para MPEG-4 tasas de bits más bajas manteniendo la calidad del audio.
Otra característica importante que incluye HE-AAC v2, que también es incluida en la v1, es la flexibilidad en el transporte de metadatos. Estos se pueden incorporar como datos auxiliares, de forma que tan sólo pueden ser decodificados por los decodificadores compatibles. Los decodificadores que no sean compatibles ignoraran éstos metadatos.
Arquitectura
- Codificador

Las tecnologías AAC, SBR y PS son los componentes básicos del perfil MPEG-4 HE-AAC v2. El códec AAC se utiliza para codificar la banda de frecuencias bajas (low band), la Replicación de banda espectral codifica la banda de frecuencias altas (high band), y PS codifica la imagen estéreo de forma parametrizada.
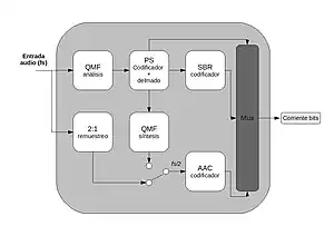
Un codificador típico de aacPlus, presenta una señal de entrada de audio muestreado a fs (frecuencia de muestreo) que alimenta a un banco de filtros de 64 bandas-QMF (Filtro espejo en cuadratura) el cual transforma el señal al dominio QMF. Tanto el bloque del estéreo paramétrico como el de la Replicación de banda espectral utilizan los datos obtenidos de la transformación para realizar la codificación. Ésta señal entra en el bloque PS en el cual realiza una mezcla (downmix) de estéreo a mono. La señal obtenida después de ser procesada en el bloque PS se envía al multiplexador y al bloque SBR. Al bloque codificador AAC le llega una señal, que puede ser obtenida en el bloque PS, reconstruido otra vez al dominio temporal como una síntesis con 32 bandas-QMF o bien si no usamos el bloque PS (caso de HE-AAC v1) llega la señal de entrada remuestreada por dos. Finalmente todos los datos codificados se multiplexan a una corriente de bits única.[3]
- Decodificador

En el caso del decodificador, primero se demultiplexa la corriente de bits de entrada en tres corrientes de bits diferentes: datos para AAC, datos para SBR y datos para PS. El decodificador AAC genera a su salida una señal en el dominio temporal de banda baja a una frecuencia de muestreo fs/2. Ésta señal se transforma al dominio QMF para su procesamiento. El bloque de procesamiento SBR reconstruye la señal en el dominio QMF de banda alta, una vez obtenidas tanto la banda alta como la banda baja se fusionan para conseguir la banda completa (Full-Band) en el dominio QMF. Si se usa el bloque PS, éste crea una representación estéreo en el dominio QMF. Finalmente el señal es sintetizado mediante un banco de filtros de 64 bandas-QMF. La salida del descodificador es una señal en el dominio temporal con una frecuencia de muestreo (fs).[3]
Calidad perceptual
Se han realizado diferentes evaluaciones sobre la calidad del audio obtenido aplicando HE-AAC y HE-AAC v2. El test realizado por la EBU (European Broadcasting Union), el cual evaluaba una gran variedad de formatos, entre ellos Mp3PRO, aacPlus, AAC, Real 8, WMA 8, MP3, a una tasa de bits de 48kbits/s utilizando el método "MUSHRA test method", dio como resultado una clara superioridad del formato HE-AAC respecto a los demás, por encima incluso del Mp3PRO.
Otro test realizado por MPEG, usando también el método de test MUSHRA determinó que la aplicación del bloque estéreo paramétrico en el HE-AAC v2 mejora la calidad del audio obtenido a medida que se bajaba la tasa de bits, respecto al HE-AAC v1. Los test efectuados por el Institut für Rundfunktechnik (IRT), usando códecs de audio multicanal como Dolby a 384 kbits/s y WMA a 192 kbit/s, demostraban que el aacPlus a 160 kbits/s produce resultados mejores en diferentes tipos de música respecto a los demás.[4]
Se ha de aclarar que el hecho de conseguir unas tasas de bits superiores va en detrimento del coste computacional.
Aplicaciones
Algunos de los formatos que contienen HE-AAC son MP4, M4A (MPEG-4) y 3GP. HE-AAC también está disponible para los sistemas operativos Windows, Linux y Macintosh.
Sus principales usos son en DAB+ (Digital Audio Broadcasting), Gestión de derechos digitales (Digitals right management (DRM)), DVB-H, DMB (Digital Multimedia Broadcasting), MediaFLO, 3GPP (3rd Generation Partnership Project), XM Radio, Radio digital Mundial (Digital Radio Mondiale), Radio por internet en streaming para dispositivos móviles, Telefonía móvil, descarga de música para móviles y los sistemas de Televisión Digital Terrestre ISDB-T y SBTVD-T.
La mayoría de aplicaciones que usan el HE-AAC están relacionadas con la necesidad de obtener tasas de bits bajas debido al uso de canales de transmisión con capacidad limitada (ancho de banda limitado).[5]
| Versión | Aplicaciones típicas | Tasas de bits típicas |
|---|---|---|
| HE-AAC v1 | XM Radio
Mobile music download Digital Radio Mondiale | 64 kbit/s (estéreo) |
| HE-AAC v2 | 3GPP music download
Digital radio DAB+ (Stereo) Internet radio streaming | 48 kbit/s (estéreo) |
Véase también
Referencias
- ISO/IEC JTC1/SC29/WG11/N7016 (11 de enero de 2005), Text of ISO/IEC 14496-3:2001/FPDAM 4, Audio Lossless Coding (ALS), new audio profiles and BSAC extensions (DOC).
- Fraunhofer IIS, MPEG-4 Audio and Video Technology (PDF).
- «Copia archivada». Archivado desde el original el 2 de junio de 2010. Consultado el 30 de noviembre de 2010.
- «Copia archivada». Archivado desde el original el 16 de febrero de 2007. Consultado el 28 de noviembre de 2009.
- «Fraunhofer IIS HE AAC, HE AAC v2: Improved quality below 64 kbit/s». Archivado desde el original el 28 de marzo de 2010.
Enlaces externos
- MPEG-4 HE-AAC v2(en inglés)
- RFC 4281 The Codecs Parameter for "Bucket" Media Types
- ISO