Doblado de chapa
El doblado de chapa es uno de los diferentes procesos de fabricación sin arranque de viruta que se emplean en la actualidad. A continuación se detalla tanto el proceso como el análisis del mismo.
Definición del Proceso
El doblado es un proceso de conformado sin separación de material y con deformación plástica utilizado para dar forma a chapas. Se utiliza, normalmente, una prensa que cuenta con una matriz si es con estampa ésta tendrá una forma determinada y un punzón que también puede tener forma que realizará la presión sobre la chapa. En el proceso, el material situado a un lado del eje neutro se comprimirá zona interior y el situado en el lado opuesto zona exterior será traccionado como consecuencia de los esfuerzos aplicados. Esto provoca también un pequeño adelgazamiento en el codo de la chapa doblada, cosa que se acentúa en el centro de la chapa.
A consecuencia de este estado de tracción-compresión el material tenderá a una pequeña recuperación elástica. Por tanto, si queremos realizar un doblado tendremos que hacerlo en un valor superior al requerido para compensar dicha recuperación elástica. Otra posible solución es realizar un rebaje en la zona de compresión de la chapa, de esta forma aseguramos que toda la zona está siendo sometida a deformación plástica. También podría servir estirar la chapa así aseguramos que toda la zona supera el límite elástico.
Según el ángulo o la forma que queramos dar al doblado existen matrices que nos proporcionan la forma deseada.


Tipos de Doblado
Según como se realice el proceso de Doblado podemos distinguir entre Doblado en borde y Doblado en V. Siendo D la dimensión de la matriz que será requerida para el cálculo de la fuerza necesaria para la operación de doblado.
Descentrado eje neutro
El doblado considera fibra neutra, aquella zona a la cual las fibras no se consideran como una consecuencia de las fuerzas a tracción y compresión a la que está sometida la chapa cuando realizamos el doblado. Esta zona recorre a toda la pieza en forma de eje y es lo que se denomina eje neutro. Cuando realizamos un doblado podemos observar que la parte de fuera(exterior), y la parte de dentro(interior) se comprime, esto se debe a que el límite de los materiales no es el mismo a tracción que a compresión, como los materiales tienen mayor límite elástico a compresión que a tracción, se producirá una deformación plástica mayor al lado de fuera que tenga tracción que al de dentro, el cual sufre una compresión. Este fenómeno provoca que el eje neutro no equidiste de las dos superficies, este se encuentra más cerca de la superficie interna que de la externa, ya que la parte externa cede antes debido a que su límite elástico es menor. También decir que la descentración del eje neutro depende en gran parte, del espesor de la pieza y del radio de doblado.
Sentido de las fibras
El sentido en el que estarán las fibras de una chapa, dependerá de los tratamientos a la que ha estado sometida inicialmente. Es decir, dependerá del laminado previo a la que ha sido sometida. Por tanto, el sentido en la que están las fibras será de gran importancia porque si realizamos un doblado en contra de la dirección de las fibras, la pieza a ensayo tendrá peor comportamiento, peor calidad y una peor durabilidad que si se hubiera hecho a favor de las fibras.
Análisis del Doblado
A continuación se detallan las variables que se dan en el proceso y el cálculo necesario para llevarlo a cabo.

donde:
- = ancho de la chapa
- = espesor de la chapa
- = radio de doblado
El radio mínimo de doblado depende, entre otras cosas, del espesor y la ductilidad del material. Si tenemos un espesor bajo, el radio mínimo será bajo. Por el contrario, si el material es muy dúctil el radio mínimo será bajo.
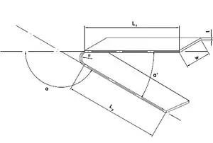
Para conocer la longitud inicial de la chapa tras un proceso de doblado debemos tener en cuenta que la longitud total de la chapa será la siguiente:
- Lchapa = Ltramos_rectos + Lzona_doblada = (L1 + L2) + Lzona_doblada
y
donde:
- si R ˂ 2•t, kdoblado = 0.33
- si R ≥ 2•t, kdoblado = 0.50
Y podemos calcular la fuerza necesaria para realizar el doblado como:
siendo:
- σe = límite elástico
- D = dimensión/abertura de la matriz
- Kbf = cte
- (si el doblado es en V, kbf = 1.33)
- (si el doblado es en borde, kbf = 0.33)
Temas Relacionados
Otras técnicas de conformado con deformación plástica y sin arranque de viruta:
- Estirado
- Trefilado
- Repujado
- Preparación de Bordes
- Estampado de metales
Y con deformación plástica y separación de material:
- Corte de chapa
- Proceso de Separación de chapa
- Incisión
- Punzonado Punzonadora CNC
- Troquelado
- Troquelación
- Proceso de Cizallado
Referencias
Bibliografía
- Carlos Vila Pastor, Fernando Romero Subirón, Gracia M. Bruscas Bellido, Julio Serrano Mirá. Tecnología Mecánica: Metrología y procesos de conformado de metales sin arranque de viruta. Castellón: Publicaciones Universidad Jaime I, Nº233.