Collaborative learning flow pattern

Draft

Definition

Collaborative Learning Flow Patterns (CLFP) allow identification and formalization of common practices in collaborative learning, i.e. they describe a kind of learning design for CSCL scripts.

CLFPs can be formalized with IMS Learning Design. A CLFP-based Learning Design is the result of particularizing and customizing the IMS-LD description of a best practice in collaborative learning activities structuring according to the requirements and conditions of a particular learning scenario. (Hernández-Leo, 2005b:226).

“CLFPs describe well-accepted ways of arranging participants in collaborative learning sessions, sequencing types of collaborative learning activities, assigning contents to those activities, etc. CLFPs can be used to identify common types of collaborative learning activities that might potentially be mapped onto CSCL reusable functional blocks.” (Bote-Lorenzo et al. 2004).

Learning flows or learnflows refer to educational work-flows, i.e. what coordination of learner and teacher work within activities. CLFPs are design patterns that should allow to support creation of “effective, reusable, flexible and customizable collaborative learning activities designs.” (Hernández-Leo, 2005b:223).

Rationale

The advantages of using CLFPs to collect and formulate CSCL practices are according to (Hernández-Leo, 2005b:224):

  • A way of communicating collaborative learning expertise to others (including novices). That's an often heard argument in learning design communities.
  • A conceptual common ground among practicioners and software developers.
  • Promotion of software reuse.

Therefore, it is necessary to develop CLFP-based collaborative learning design authoring tools like Collage.

Design formalism

CLFPs can be described with with some summary table using natural language, or with UML activity diagrams or with a formalism like IMS Learning Design.

Formalization with UML activity diagrams

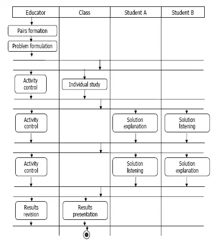
Here is an example from (Hernández-Leo, 2005b:224) that describes a Thinking Aloud Pair Problem Solving (TAPPS) CSCL script with a diagram. In a TAPPS CLFP, students first study a problem individual in class. Then, they are paired and given a series of problems. The two students are assigned specific roles that switch with each problem: problem solver and listener. The problem solver explains her/his solution to the problem. The listener follows the explanation and catches any errors that occur. Finally all groups present results for class-room discussion.

Activity Diagrams of TAPPS CLFP, figure from Hernández-Leo, D. et al. (2005b). Reusing IMS-LD Formalized Best Practices in Collaborative Learning Structuring. Advanced Technology for Learning 2(4):223-232.

This diagram just shows what different actors do at a given time (time flows from top to bottom). It doesn't include object flow, i.e. "products" made by learners and possible reuse in the final discussion. UML activity design would allow to include objects, but formalization with IMS LD couldn't use this information.

Formalization with IMS LD

Activity Diagrams or verbal descriptions can be translated to IMS Learning Design. The Collage CLFP editor does this automatically. Reasons for using IMS LD are according to (Hernández-Leo, 2005b:224):

  • Software tools (once available) could automatically process CLFP definitions
  • IMS-LD might favor formal design techniques
  • CLFP could be particularized and customized at three levels:
    • IMS-LD description
    • CLFP-based learning design
    • CLFP-based learning unit (i.e. an IMS CP with particular resources
  • According to the IMS LD logic, activity structures are dissociated from resources and services (which make the context independant)
  • Using a standard makes life easier.

Translation to IMS LD does not seem to be straight forward in some cases. E.g. IMS LD doesn't allow role switching. Workarounds:

  • One role (e.g. Student A) has different activities, each representing the "real" role, e.g. explainer and listener
  • One person holds 2 different roles at the same time, e.g. expert of a discussion and member of a discussion held at the same time. Roles could be assigned at services level.

IMS LD doesn't implement workflow of objects (output of activity A becomes input of activity B either). Again, something like this could be added at the services level.

Links

Research Groups
Software
  • CLFPs have been implemented in the Collage editor

References

  • Bote-Lorenzo, M.L., Hernández-Leo, D., Dimitriadis, Y., Asensio-Pérez, J.I., Gómez-Sánchez, E., Vega-Gorgojo, G., Vaquero-González, L.M. (2004). Towards Reusability and Tailorability in Collaborative Learning Systems Using IMS-LD and Grid Services Advanced Technology for Learning. 1(3):129-138.
  • Hernández-Leo, D., Bote-Lorenzo, M.L., Asensio-Pérez, J.I., Gómez-Sánchez, E., Villasclaras-Fernández, E.D., Jorrín-Abellán, I.M., Dimitriadis, Y. (2007). Free- and Open Source Software for a Course on Network Management: Authoring and Enactment of Scripts based on Collaborative Learning Strategies. IEEE Transactions on Education. 50(4):292-301. http://doi.ieeecomputersociety.org/10.1109/TE.2007.904589
  • Hernández-Leo, D., Harrer, A., Dodero, J.M., Asensio-Pérez, J.I., Burgos, D. (2007). A Framework for the Conceptualization of Approaches to "Create-by-Reuse" of Learning Design Solutions. Journal of Universal Computer Science. 13(7):991-1001. http://www.jucs.org/jucs_13_7/a_framework_for_the
  • Hernández-Leo, D., Villasclaras-Fernández, E.D., Jorrín-Abellán, I.M., Asensio-Pérez, J.I., Dimitriadis, Y., Ruiz-Requies, I., Rubia-Avi, B. (2006). Collage, a Collaborative Learning Design Editor Based on Patterns Special Issue on Learning Design, Educational Technology & Society. 9(1):58-71. http://www.ifets.info/issues.php?id=30
  • Hernandez-Leo, D., Asensio-Perez, J. I. & Dimitriadis, Y. (2005a). Computational Representation of Collaborative Learning Flow Patterns using IMS Learning Design. Educational Technology & Society, 8 (4), 75-89. http://www.ifets.info/issues.php?id=29
  • Hernández-Leo, D., Asensio-Pérez, J.I., Dimitriadis, Y., Bote-Lorenzo, M.L., Jorrín-Abellán, I.M., Villasclaras-Fernández, E.D. (2005b). Reusing IMS-LD Formalized Best Practices in Collaborative Learning Structuring. Advanced Technology for Learning 2(4):223-232. http://dx.doi.org/10.2316/Journal.208.2005.4.208-0865 - PDF